Preloader Close
0

CALL US NOW!

(770) 993-1460

Pull-Rail

Pull-Rail

$113.00

(Shipping out as soon As April/May, pre-order now) The Pull-Rail is an aftermarket product created to assist people with issues pulling the AquaStairs dock ladders up and out of the water. By using a fulcrum at the bottom of the piece, and pulling on the unit from the bottom, this device makes lifting the unit … Continue reading "Pull-Rail"

(Shipping out as soon As April/May, pre-order now) The Pull-Rail is an aftermarket product created to assist people with issues pulling the AquaStairs dock ladders up and out of the water. By using a fulcrum at the bottom of the piece, and pulling on the unit from the bottom, this device makes lifting the unit much easier. The device also doubles as an additional handrail.

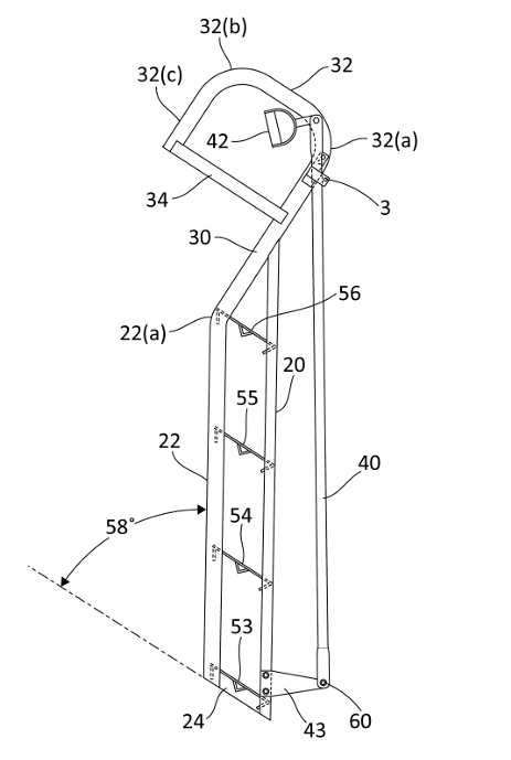
Aqua “Pull-Rail” Installation Instructions

  1. Remove all parts from the package and assemble them. Use the two shortest bolts and acorn nuts to attach the handle and plate to the bottom of the Pull-Rail.
  2. Rotate your AquaStairs ladder up and out of the water for installation.
  3. Two people are required to hold the Pull-Rail in position while marking the drilling points on the ladder.
  4. The Pull-Rail is designed to mount on the right-hand side of the ladder. Ensure the bottom plate is positioned as close to 90° to the ladder as possible.
  5. For 4-, 5-, and 6-step ladders: Hold the Pull-Rail handle just above the surface of the dock, with the opposite end positioned just above the 4th stair. Mark all holes to be drilled.
  6. For Special-7 and Special-8 ladders: Ensure the Pull-Rail placement does not interfere with any stairs or bolts when drilling the bottom holes. Due to larger loop handles, mounting on the front portion of the loop handle is recommended.
  7. Use the bolts and acorn nuts to attach the Pull-Rail to the bottom of the ladder. Use an acorn nut to attach the holster for the Pull-Rail.
  8. The Pull-Rail will rest in the holster. The snap pin secures the Pull-Rail to the ladder when not in use.
  9. Apply Loctite to all bolts to keep the nuts securely locked in place.

Contact AQUASTAIRS for other shipping locations outside of the continental US.

Go To Top